Navigation
Detail
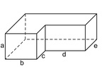
Quaderblock
Urheber:
CJU, CC0
Bildnummer:
P11781
Auflösung:
900x700
Format:
PNG
Quelle:
https://www.schulportal-thueringen.de/pixiothek/detail?tspi=P11781
Kurzbeschreibung:
Das Bild gehört zur Serie "Geometrie Körper". Es zeigt einen Quader, bei dem an einer Ecke ein quaderförmiges Stück herausgetrennt wurde. Das Bild ist unter CC0 lizenziert und kann somit frei verwendet werden.
Verwandte Bilder (Auswahl)
Zusammengesetzter Körper
(600x400)
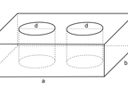
Quader mit zwei Bohrungen
(800x400)
Quaderblock
(900x700)
Zusammengesetzter Körper
(600x400)
Zusammengesetzter Körper
(600x400)
Quader mit zwei Bohrungen
(800x400)
Vierseitiges Prisma, Quader
(462x609)
Zusammengesetzter Körper
(500x400)
Quader mit zwei Bohrungen
(800x400)
Quader mit Raumdiagonalen
(1250x850)
Verwandte Medien (Auswahl)
Es wurden aktuell keine verwandten Medien gefunden.